



Charakterystyka produktu
- Kamera 5 - przyciskowa, metalowa
- montaż podtynkowy
- kamera z serii "Blue Crystal"
- standard sygnału video: PAL
- zasilanie 12VDC
- sterowanie elektrozaczepem poprzez styk NO
- kąt widzenia w pionie: 55 stopni , w poziomie: 68 stopni
- doświetlenie optyki diodami światła białego
- pełna regulacja ustawienia kąta widzenia (pion - poziom: 12 stopni)
- współpracuje z monitorami analogowymi w systemie 4-żyłowym (czarno-białymi lub kolor w standardzie PAL)
Wygląd zewnętrzny kamery:
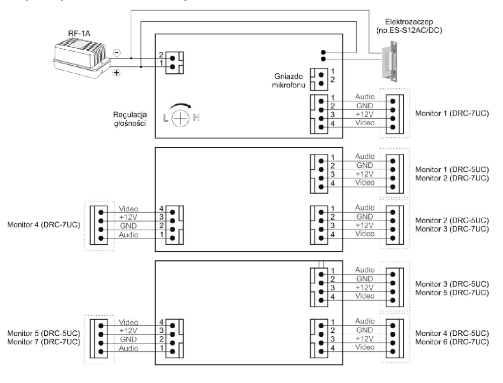
Przykład podłączenia kamery:
Oznaczenie przewodów:
Wymiary
Wymiary puszki podtynkowej: 121 x 305 x 37 mm
Wymiary panela nadtynkowego: 130 x 315 x 10 mm